Time:2022-12-20 Click:233
原文标题:《A&T View:以太坊质押可提取价值中的投资机会》
原文作者:Liam,A&T Capital 分析师
来源上,ETH Staking Extractable Value 可以分为 Consensus Income、Execution Income 和 MEV 三类;流向上,ETH Staking Extractable Value 可以分为 Validator Captured Value(Validator Staking Income)和 Validator Uncaptured Value 两类。
Validator Infra Provider、Pooled Staking Protocol、CEX 和 Staker 能够从 Validator Staking Income 中分一杯羹;Searcher、Block Builder 能够从 Validator Uncaptured Value 中分一杯羹。
Validator Infra Provider、Stake Pool、Products based on DVT 和 External MEV Market 中有值得关注的投资机会。
自 The Merge 发生以来,PoS 共识机制下的 Ethereum 已经稳健运行了近三个月,ETH 2.0 成功迈出了关键的第一步。
如果你想先了解 ETH Staking Ecosystem 的全貌,推荐阅读 Staking Rewards (A&T Capital Portfolio) 的详细报告《Mapping the Ethereum Staking Ecosystem》

让我们把目光聚焦在 ETH Staking Extractable Value 的直接利益相关者,将上图简化,得到 ETH Staking Extractable Value Chain。

两个角度:
Staking Extractable Value=Consensus Income Execution Income MEV
Staking Extractable Value=Validator Captured Value Validator Uncaptured Value
从来源上,分为三类:
Consensus Income: 来自网络新增发的 ETH Token,是共识机制对诚实 Validator 的奖励
Execution Income:来自 Gas Fee 中的 Tip 部分,是用户支付给帮助打包其交易上链的 Proposer/Builder 的小费
MEV: 来自执行某些特定交易产生的经济利益,形式最为多样,大多属于套利利润
从流向上,分为两类:
Validator Captured Value(Validator Staking Income):被分配给 Validator,作为维护 ETH 网络安全、参与区块建立与共识所获得的经济激励
Validator Uncaptured Value: 被 ExternalMEV Market 其他参与者瓜分,表现为 MEV 加上 External Block’s Execution Income 再减去分给 Validator 的 MEV Rewards
Validator Staking Income=Consensus Income Local Block’s Execution Income MEV Rewards
Validator Staking Income 共有三种不同来源,分别是 Consensus Income、Local Block’s Execution Income 和 MEV Rewards。
对于一个 Validator 来说,Consensus Income 是最基本、稳定的收入;Local Block’s Execution Income 和 MEV Rewards 则相对偶然,只有当 Validator 被选为某个新区块的 Proposer 时才能获得。
Proposer 具体获得何种收入,则取决于不同情况。在 Local Block Building 的情况下,Proposer 获得 Execution Income;在 External Block Building 的情况下,Block Builder 获得 Execution Income,Proposer 获得 Block Builder 支付的 MEV Rewards。

Consensus Income:来自网络新增发的 ETH Token,是共识机制对诚实 Validator 的奖励,可以细分为三类:
Proposer rewards: 当一个 Validator 被选中成为 Proposer 时,如果它提议的新区块被网络共识,它将因为网络贡献正确的新区块而获得 Proposer rewards
Attestor rewards: 未被选为 Proposer 的 Validator 可以验证 Proposer 提议的新区块是否有误,参与验证的 Validator 可以获得 Attestor rewards
Whistleblower rewards: 如果 Proposer 提议的区块中包含能够证明其他 Validator 违反共识规则的证据,它将获得 Whistleblower rewards
Local Block’s Execution Income:来自 Gas Fee 中的 Tip 部分,是用户支付给帮助打包其交易上链的 Proposer/Builder 的小费。在 Local Block Building 的情况下,Proposer (Validator) 自行建设区块,并能够获得该区块中全部的 Tip,这部分收入被称为 Local Block’s Execution Income。
MEV Rewards:来自 Block Builder 支付给 Proposer 的费用,本质上是 MEV 的一部分。在 External Block Building 的情况下,Proposer (Validator) 提议 Block Builder 建设的区块,Block Builder 支付给 Proposer 的费用被称为 MEV Rewards(Block Builder 获得该区块的 Execution Income)。这笔费用可能高于区块中全部的 Tip(Block Builder 额外补贴 Proposer),也可能等于或低于区块中全部的 Tip(Block Builder 留存零利润或部分利润)。
注:EIP-1559 后,ETH 上每笔交易的 Gas Fee 被分为 Base Fee 和 Tip。其中 Base Fee 会被燃烧,而 Tip 支付给该区块内的 coinbase address(这一地址可以是 Proposer 的,也可以是 Block Builder 的)。
值得一提的是,目前 Consensus Income 仍无法提取,它被锁定在 Validator 在 Beacon Chain 的 Balance 中;而 Execution Income 和 MEV Rewards 可以被提取,因为它被转入了某个指定的账户中。
Validator Uncaptured Value=MEV External Block’s Execution Income - MEV Rewards
MEV:来自执行某些特定交易产生的经济利益,形式最为多样,大多属于套利利
External Block’s Execution Income:来自中 Gas Fee 里的 Tip 部分,是用户支付给帮助打包其交易上链的 Builder 的小费。在 ExternalBlock Building 的情况下,Builder 将其建设的区块内的 coinbaseaddress(用来收取 tip 的地址)设置为 Builder 的地址,所以 Builder 能够获得该区块中全部的 Tip,
MEV Rewards: 来自 Block Builder 支付给 Proposer 的费用,是 MEV 中被 Proposer 捕获的部分。
关于 Validator Captured Value:
按 Staker 选择以何种方式质押讨论。按 Ethereum 官方说法,可以分为以下四类:
Solo Staking:Staker-100%
Staking as a Service:Staker-90 ~ 95% ,Validator Infra Provider-5 ~ 10%
Pooled Staking:Staker-90% ,Pooled Staking Protocol-5% ,Validator Infra Provider-5%
Centralized Exchanges:Staker-85 ~ 95% ,CEX-0 ~ 10% ,Validator Infra Provider-5%

关于 Validator Uncaptured Value:
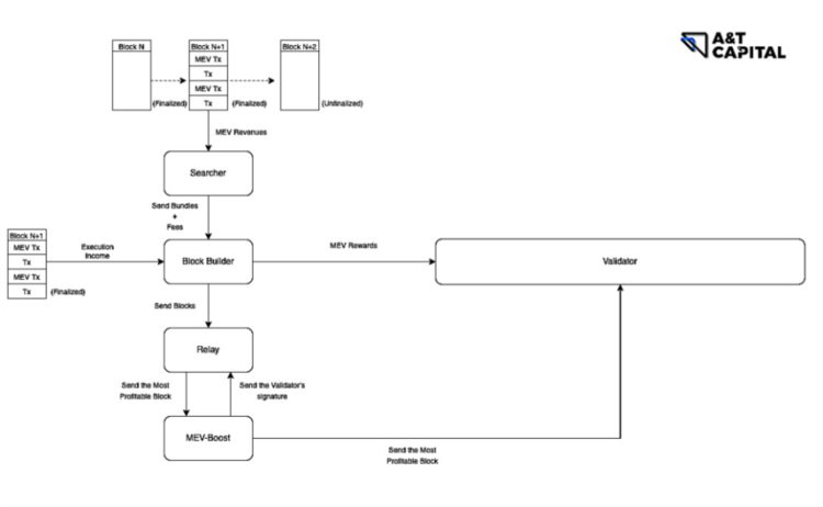
目前,Validator Uncaptured Value 被 Searcher 和 Block Builder 瓜分,Relay 尚未从中提取价值。理论上,Relay 是一个被信任的中继结构,作为撮合 Block Builder 和 Proposer 的市场,存在商业化的可能。
External MEV Market Architectures:

Searcher:
行为:将自己的 MEV TXs 插入一组 TXs,形成 Bundles 发送给 Builder
收入:MEV TXs 被执行带来的收益(MEV)
成本:MEV TXs 的 Gas fee(Base fee Tip)和付给 Builder 的费用
Block Builder:
行为:根据得到的 Bundles 和 Mem Pool 中的 TXs 组成 Full Block,并将其发送给 Proposer。其中,Full Block 中的 coinbase address(用来收取 tip 的地址)设置为 Builder 的地址,而 Full Block 中的最后一笔 TX 是 Builder 转账到 Proposer 的地址
收入:Full Block 中的 Tip 和 Searcher 支付的费用
成本:付给 Proposer 的费用
Relay:
行为:接受众多 Builders 发送的 FullBlocks,并将对 Proposer 最有利的 FullBlock 发送给 Proposer
收入:尚未收取任何费用
成本:服务器运维成本
哪些方向有值得关注的投资机会?
Validator Infra Provider
Stake Pool
Products based on DVT
External MEV Market
Validator Captured Value 是「浮在水面上的价值」,这个市场相对成熟,各利益相关者提取价值的比例也相对固定。
最显而易见的两个投资方向是 Validator Infra Provider 和 Stake Pool。A&T Capital 均有布局。
投资逻辑可以参考我们之前的文章:
不过,这绝非一个一成不变的市场,DVT(Distributed Validator Technology)的成熟和应用会成为新的「鲶鱼」。
DVT 通过运行在不同硬件上的 Node Operator 共同承担一个 Validator 的职责,使得 Validator 更去中心化的同时避免硬件设备的单点故障。
基于 DVT,可以实现不同形式的产品,并通过不同的路径实现商业化。SSV Network 和 Obol Network 正是一组很好的例子。
SSV Network 旨在建立一个撮合 Staker 与 Node Operator 的公开市场,Staker 可以遴选不同的 Node Operator 同时为他们运维一个 Validator,以防止单点故障;而 Node Operator 也有了一定冗余,能够更灵活地应对各类突发情况。
Obol Network 目前则更像一套 SaaS 解决方案,且兼顾 To C 和 To B。
Validator Uncaptured Value 是“藏在水面下的价值”,由于涉及到 External MEV Market(Off-chain)并没有那么透明。

MEV 比想象中更重要。
MEV 源于执行某些特殊交易产生的利润,形式复杂多样。理论上,链上交易越活跃,MEV 的上限越高。有时,MEV 会比 Consensus Income Execution Income 更高。
MEV 的总量是难以计量的(很难说 MEV TXs 的执行一共带来了多少利润)。但几乎可以肯定的是,MEV 的总量要大于分配给 Validator 的 MEV Rewards。

Merge 以来,External MEV Market 已经向 Validator 分配了近六万枚 ETH 的奖励,而 MEV 的总量只会比这个数字更高。
值得肯定的是,Flashbots 提出的 MEV-Boost 体系对保持 Ethereum Validator 的去中心化起到了促进作用。每一个 Validator 都能够通过 MEV-Boost 客户端接收各个 Relay 发送的 Block,并遴选出最优的,而不需要再依附某个大型的质押池才能获得更高收入。
然而,目前的市场仍有一系列亟需解决的问题:
市场中有许多需要被信任的结构,存在审查风险
BlockBuilder 和 Relay 有集中化的趋势
在 External MEV Market 中,Searcher 需要信任 Builder,Builder 需要信任 Relay。而实际上 Builder 拥有审查 Searcher’s Bundles 的能力,Relay 拥有审查 Builder’s Block 的能力。
例如,Flashbots Relay 就不再提交包含 Tornadao Cash 交易的区块。

(source: https://www.relayscan.io/builder-profit? t= 7 d)
值得一提的是,有些 Builder 为了让自己建设的区块胜出,甚至在补贴 Proposer(Builder 付给 Proposer 的费用大于 coinbase address 中收到的 Tip)。这一现象的可能原因是 Builder 本身也是 Searcher,能够从特殊交易执行中获利。
一个需要被信任、且集中化的市场不是我们希望看到的。能够优化 External MEV Market 的商业化解决方案会是值得关注的投资机会。